欢迎访问新医改评论 XYGPL.COM 您是第 3699783 位访问者
此前医保目录调整时,少数药品的专家评审参照药与企业建议不一致,同时部分企业会按自拟参照药先行开展药物经济学评价, 导致研究报告失去参考性 ,不仅增加医保评估成本,还影响准入流程。因此,设立预沟通环节,能够在目录调整前统一政企对参照药的认知,解决行业实际痛点。
/01/参照药核心定义
参照药品是评估药品价值的重要参考,是药品开展药物经济学研究和真实世界研究的关键要素,也是国际医保准入的通行做法,其作用主要体现在两个方面:
· 价值评估的标尺: 参照药是 评估新药临床价值 的“参照对象”。通过对比,可以清晰地看出新药相比现有疗法是否有进步、进步有多大。
· 价格测算的锚点: 参照药的价格和医保支付标准,是 测算新药医保支付标准的重要基础。 新药的支付标准会参照这个“锚点”,结合其创新价值、成本效果等因素综合形成。
而根据国家医保局的说明,参照药的选择并非随意指定,而是遵循一套明确的规则,通常优先考虑以下两类药品:

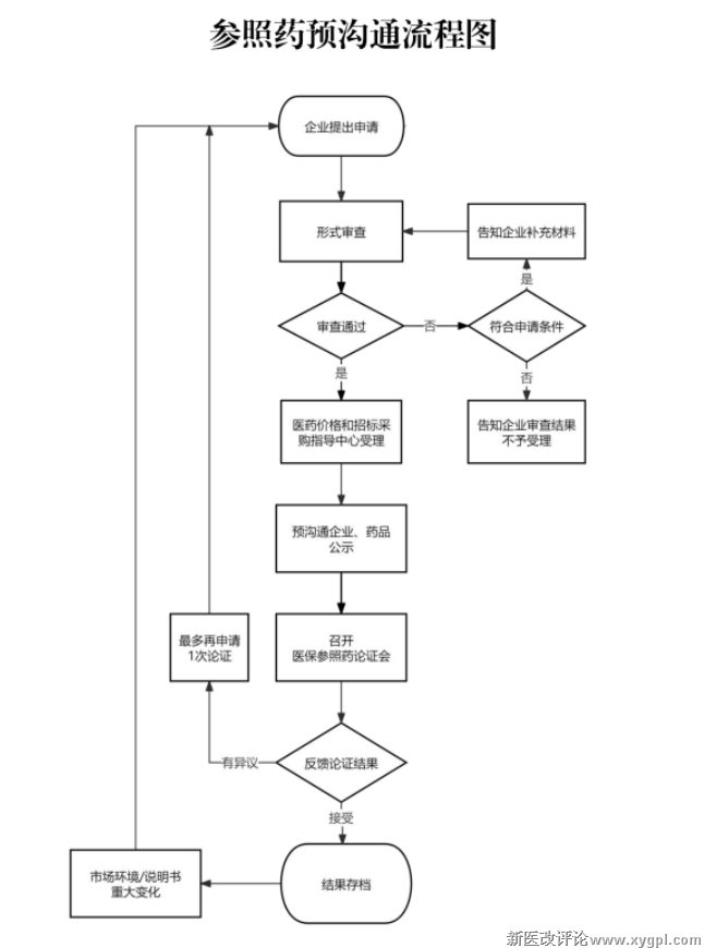
/02/参照药预沟通机制建立
在充分吸收公开征求意见的基础上,国家医保局于2026年2月10日正式发布《参照药预沟通办法(试行)》。该办法进一步 明确了参照药的核心定位、适用范围和申请流程, 将参照药的选择环节前置,建立起标准化、透明化、制度化的政企预沟通机制。
1. 申请主体: 药品上市许可持有人,境外药品上市许可持有人可由指定境内责任人代为申请,申请遵循 自愿原则 。
2. 药品范围:仅限1类创新药,满足三类条件之一。
试行期间仅针对符合现行药品注册分类的 1类化学药、1类治疗用生物制品、1类中成药 ,且需满足以下条件其一:
(1)五年内经国家药监部门批准上市的;
(1)五年内经国家药监部门批准,功能主治发生重大变化的;
(1)尚未获批上市,但上市申请已获国家药监部门受理并通过技术评审的。
· 仿制药、2类改良型新药暂不在此次试行范围内, 体现对创新药的支持。
3. 沟通流程:

/03/政策的配套与衔接
《办法》并非孤立存在,而是国家医保局正在构建的 “医保价值综合评价体系” 中的一个重要环节。它通过与目录调整、创新药发展、真实世界研究等多方面的制度衔接,共同形成了一个环环相扣的政策链条。
1. 医保目录调整: 评审环节的“前置锚点”
· 明确 在后续的药品目录调整、医保综合价值评估等工作中,将 优先考虑预沟通论证推荐的参照药和主规格。 这为企业按官方认可的参照药开展研究提供了明确预期,避免了因参照药选择分歧导致前期研究失效的风险。
2. 创新药支持政策: 强化政企沟通交流
· 不仅 聚焦1类创新药的支持 ,还通过设立标准化的参照药预沟通机制,把政企沟通升级为标准化、透明化、制度化的常态化机制。
3. 真实世界医保综合价值评价: 数据价值验证
· 通过预沟通确定的参照药,为企业开展真实世界研究提供了官方的“对标对象”,企业可基于预沟通推荐的参照药, 提前开展真实世界研究, 用真实诊疗环境中的数据验证药品的临床价值和经济学优势。
/04/医保价值评价新节点
综合来看,《参照药预沟通办法》是医保部门正在构建的“价值导向的医保综合评价体系”中的一个关键节点。未来,真实世界医保评价大范围落地,预沟通机制全面实施,将形成以价值为导向、基于真实世界研究的医保综合价值评价体系,并逐步全国推广。
|
|
||||