欢迎访问新医改评论 XYGPL.COM 您是第 3685626 位访问者
提示:现在医保基金核算方式采取“收费实现制”,什么时候收到钱就做收入,什么时候付款就做支出,例如每年缴费时间在第四季度就算做当年的收入,其实应该与下一年的医保金支出相匹配,这样就会导致医保基金结余“虚盈”,容易导致人们误解,甚至医保政策决策失误。针对医保基金核算中的问题,财政部近日印发《〈社会保险基金会计制度〉补充规定》的通知(财会〔2025〕35号,以下简称《通知》),意味着医保基金运行将彻底告别以往“雾里看花”的模糊状态,更让每一笔关乎群众生命健康的“救命钱”,其来龙去脉都实现可追溯、可验证、可问责,真正做到账实清晰、监管有据、风险可控。
在日常生活里,医保是每个人生命健康的一道坚实防线,医保基金作为老百姓的“救命钱”,每一笔收支都牵系着民生福祉 。但长期以来,医保基金的核算方式存在一些弊端,采用收付实现制核算,使得账本里藏着不少 “糊涂账”,这一问题一直让我十分关注,笔者曾多次发文呼吁,希望能修改医保基金核算政策,规范“寅吃卯粮”的核算乱象。今天,终于看到财政部出台相关新规,心中满是欣慰——就拿城乡居民医保缴费来说,每年第四季度大家预缴下一年的保费,按照旧的核算规则,这笔保费会直接计入当年医保基金收入。可等到次年居民看病报销产生的费用,才被记录为支出,这就造成了收入和支出在时间上的错位,形成了 “寅吃卯粮” 的局面。
这种不匹配带来的问题不容小觑,最直观的就是医保基金结余出现“虚盈” 现象。账面上看,当年医保基金收入因为预收了下一年保费而显得颇为充裕,但实际上这部分钱是为来年医保服务准备的,并非当年真正的可用资金。一旦据此制定医保政策,很可能会出现误判,影响医保基金的合理调配与长远规划,甚至在面对突发的就医高峰或重大疾病时,医保基金可能因 “虚盈” 表象而准备不足,危及老百姓的切身利益。
好在,财政部印发的《〈社会保险基金会计制度〉补充规定》(财会〔2025〕35 号),就像一道光照进了医保基金核算的迷雾,彻底终结了这种混乱局面。该规定从 2026 年 1 月 1 日起正式实施,为医保基金的核算与管理带来了全新的规范与秩序,让医保账本从此变得清晰透明,每一笔资金的流向都有据可查。
医保基金核算的收付实现制,遵循着“简单粗暴” 却又暗藏隐患的逻辑:只要钱到账,不管什么时候的业务,都算作当期收入;一旦资金支出,即刻记录为当期费用 。以城乡居民医保缴费流程为例,每年第四季度是集中缴费期,居民们缴纳的是下一年度的医保费用。但在收付实现制下,这笔预缴款却被计入当年医保基金收入账本。可实际到了次年,居民们生病就医产生的报销费用,才会被确认为医保基金支出。这就好比把明天的饭钱算进今天的收入,等明天吃饭时,支出又被单独计算,造成了收入与支出在时间维度上的严重错配 。
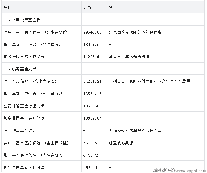
这种看似“简洁”的记账方式,实则是把未来的收入提前“变现”,再加上延迟列支支出的问题,双重放大了医保基金结余的“虚盈”假象,结合具体数据更能看清其中的不合理——结合公开的医保统筹基金收支数据(单位:亿元),这种核算漏洞一目了然:

注:1. 自2024年起,公布数据为基本医疗保险统筹基金收入、支出,不含职工基本医保个人账户收入、支出。2. 按照现行制度规定,居民医保个人缴费收入一般集中在第四季度到账,而支出在本年按月列支,基金收入和支出的时序数额不尽匹配。
具体来说,不合理之处体现在两点:一是收入“掺水”,表中29544.06亿元的基本医保统筹收入里,包含了大量第四季度收到的下年度居民医保预缴款——这些钱本应对应下一年的报销支出,却被计入当期收入,直接拉高了当年收入总额;二是支出“缩水”,如果当期医保部门欠付医院医保报销款项、或者存在延迟付款的情况,这部分本应属于当年的支出,不会被列入当期统筹支出(仅列支实际支付的24231.24亿元)。一增一减之下,账面形成了5312.82亿元的基本医保统筹结余,但这并非基金的真实可用资金。
举个具体场景:假设某年度第四季度收到1000亿元下年度居民医保预缴款,同时当年欠付医院医保报销费用800亿元。按照现行核算方式,1000亿元计入当期收入,800亿元未计入当期支出,仅这两项就导致账面虚增结余1800亿元。对应到上述表格,5312.82亿元的结余中,就包含了这类虚增部分——看似基金充裕,可等到下一年,预缴款要用于支付下一年的报销,欠付医院的款项也要逐步结清,届时基金的实际可支配资金会大幅缩水,甚至可能出现收支缺口。更值得注意的是,这种核算方式还可能掩盖DRG/DIP清算中的隐性支出,部分医院因医保清算亏损产生的合理费用,也可能因延迟核算未纳入当期支出,进一步加剧虚盈假象。
医保基金核算的“虚盈” 问题,就像一颗隐藏在暗处的定时炸弹,带来了多方面的隐患,严重威胁着医保体系的稳定运行。
在政策决策层面,失真的收支数据成为了最大的“绊脚石”,而其中受影响最直接、与民生关联最紧密的,就是物价政策和医保支付政策的制定——“糊涂账” 直接导致政策制定脱离实际,要么违背公平性,要么埋下基金运行隐患。医保管理部门依据这些不准确的数据进行决策,犹如盲人摸象。当账面上显示医保基金结余丰厚时,很可能陷入两种误判:一方面,在制定医保支付政策时,可能贸然提高医保报销比例、扩大报销范围,甚至盲目新增报销品类,却未曾考虑到这些所谓的 “结余” 很大一部分是预收的下一年保费,并非当年真正的可支配资金;另一方面,在联动制定医疗服务物价政策时,可能因误判基金“充裕度”,对医疗机构提出的医疗服务定价调整需求缺乏合理把控,要么过度放宽定价上限,导致医疗费用虚高、医保基金浪费,要么因未看清基金真实承受能力,不合理压低定价,挫伤医疗机构积极性,最终影响医疗服务质量。一旦后续基金收入回归真实、支出因政策调整大幅增加,就可能导致医保基金入不敷出,进而被迫收紧支付政策、冻结物价调整,形成“政策反复”,既影响参保人权益,也扰乱医疗市场秩序。同样,在制定医保基金预算时,基于虚盈数据制定的预算计划,无法准确反映实际收支需求,进一步加剧物价政策与支付政策的错位,影响医保服务的质量和可持续性
从基金风险角度来看,虚盈现象让医保基金的隐性债务问题被掩盖。由于收付实现制不能准确反映医保基金的长期收支平衡状况,未来可能出现的支出压力无法提前预警。随着人口老龄化加剧、医疗技术进步带来的医疗费用上涨,医保基金的实际负担会越来越重。若长期依赖虚盈数据,不提前规划应对措施,当真正的收支缺口暴露时,医保基金很可能面临透支风险,无法保障参保人的基本医疗权益,甚至可能引发社会不稳定因素。
在基金监管方面,收付实现制下的账目过于“粗糙”,给监管工作带来了极大难度。医保基金涉及众多参保人、医疗机构和复杂的资金往来,每一笔资金的流向都需要精准把控。但在旧的核算方式下,由于账目颗粒度不够细,资金收支的时间错配,使得监管部门难以准确追溯资金的来龙去脉。一些违规操作,如医疗机构虚报费用、骗取医保基金等行为,可能会在虚盈的掩护下逃过监管的眼睛,导致医保基金的大量流失。毕竟,对于救命钱的管理,必须做到万无一失,任何监管盲区都可能让不法分子有机可乘 。
更值得警惕的是,这种“糊涂账”还容易为医保绩效考核埋雷。医保绩效考核直接关联医保经办机构、定点医疗机构的考核结果与奖惩,而考核的核心依据正是医保基金收支、基金运行效率等关键数据——虚增的结余、失真的收支数据,会让考核失去客观公正的基础。比如,账面虚盈可能让医保经办机构误判为“基金管理高效”,从而获得不合理的考核加分;而医疗机构的医保费用控制、报销合规性等考核指标,也会因医保部门欠付资金、支出延迟核算等问题出现偏差,导致考核结果失真。更有甚者,部分医疗机构可能因考核数据不合理,被迫采取违规控费、推诿患者等行为来应付考核,既违背医保初衷,也损害参保人权益,还会让绩效考核失去应有意义,无法真正倒逼医保服务质量提升,这也从侧面印证,财政部及时调整医保基金核算制度,规范核算流程、还原数据真相,是十分必要且紧迫的。
新规直击医保基金“寅吃卯粮” 的症结,对城乡居民医保预缴保费的会计处理方式进行了根本性变革 。以往,收付实现制下,第四季度收到的下一年保费直接计入当年收入,造成收支严重错配 。而在新规定里,这笔预收保费有了全新的 “归宿”。当经办机构收到下一年度保费时,不再立即确认为当年收入,而是先计入 “暂收款” 科目下的 “待确认收入” 明细科目 。这就好比把预收的钱先存进一个 “临时账户”,等真正的受益年度开始,也就是次年参保周期启动后,再将这笔资金从 “暂收款” 转为 “社会保险费收入” 。
举个例子,在 2025 年第四季度,某地区收到了大量 2026 年度的城乡居民医保预缴款。按照旧的收付实现制,这笔钱计入 2025 年基金收入,导致账面结余虚高。此时,当地在制定 2026 年医疗服务物价政策时,可能因误判 2025 年基金“充裕”,同意医疗机构上调部分诊疗项目价格;在制定 2026 年医保支付政策时,也可能提高报销比例、降低起付线。但到了 2026 年,预缴款已用于支付当年报销,基金真实收支缺口暴露,当地只能紧急下调报销比例、暂停物价上调,甚至拖欠医疗机构费用,形成政策“朝令夕改”。而按照新规,这些 2025 年四季度的预缴款会先被记录在 “暂收款 —— 待确认收入” 中,到了 2026 年 1 月才正式确认为当年收入,2025 年基金收支数据回归真实。基于真实数据,当地在制定 2026 年物价政策和支付政策时,就能精准匹配基金实际承受能力,既不会盲目放宽定价和支付标准造成基金浪费,也不会因误判缺口而过度收紧政策,保障政策的稳定性和科学性。这种 “缴费年份与受益年份精准匹配” 的核算方式,从源头上杜绝了 “寅吃卯粮” 的现象,让医保基金的收支数据能够真实反映其实际运行状况 。不再有虚增的收入干扰视线,医保管理部门可以依据更准确的数据制定科学合理的医保政策、联动优化物价政策,保障医保基金的长期稳定运行 。
随着医保体系不断完善,长期护理保险、大病保险等新业务应运而生,对这些新业务的规范核算,也是新规的一大亮点。
先看长期护理保险,为了精准反映长护险基金的收支情况,新规增设了“失能等级评估费支出” 等一级科目 。在实际操作中,当参保人申请长护险待遇时,需要进行失能等级评估,而评估费用通常由长护险基金支付。有了 “失能等级评估费支出” 科目,这笔费用的流向就一目了然,不仅清晰记录了基金的支出用途,也让参保人清楚知晓自己缴纳的保费具体用在了哪些地方 。同时,在其他收支余科目中,新规也增设了相应明细科目,从收入来源到待遇支付,每一个环节都有详细的账目记录,确保长护险基金的每一笔资金都能被精准追踪 。
对于大病保险,由于存在商业保险机构承办和医保经办机构自行经办两种模式,以往的核算方式较为混乱。新规对此进行了针对性调整,在“大病保险支出” 科目下细分 “商业保险机构承办” 和 “医保经办机构自行经办待遇支出” 两个明细科目 。以商业保险机构承办模式为例,进一步在 “商业保险机构承办” 明细科目下增设 “划转保费支出”“风险赔付”“盈余返还”“其他支出” 等明细科目 。其中,“划转保费支出” 记录从城乡居民医保基金向商业保险机构划转的大病保险保费;当因政策调整等原因导致商业保险机构承办大病保险出现亏损时,“风险赔付” 科目就会发挥作用,记录医保基金对其进行的补偿;若商业保险机构承办大病保险出现超过合同约定的盈余,“盈余返还” 科目则用于核算返还给医保基金的资金 。这种细化核算不仅理清了大病保险资金的收支脉络,还建立起了有效的盈余返还机制,让超额利润能够回流到医保基金中,进一步增强了医保基金的保障能力 。
此外,针对医保集采预付金、直接结算资金等医保改革过程中出现的新业务模式,新规也在“暂付款” 科目下增设了相应明细科目 。在药品和医用耗材集中带量采购中,经办机构向定点医疗机构拨付的预付金,通过 “集采预付金” 明细科目核算;在与医疗机构定期结算前,直接与药企结算的药品和医用耗材资金,则通过 “直接结算资金” 明细科目进行记录 。这些明细科目的增设,使得医保基金在新业务领域的资金往来更加清晰,有效避免了账目混乱,为医保基金监管提供了更有力的数据支持 。
新规不仅在会计科目设置和核算方式上做了调整,还对医保基金相关报表进行了规范,以保障政策平稳落地。
在报表规范方面,新规明确了长护险基金“收支表” 的具体格式和编制要求 。这一举措让各地长护险基金的收支数据有了统一的呈现标准,无论是横向对比不同地区的长护险基金运行情况,还是纵向分析同一地区长护险基金的发展趋势,都变得更加便捷高效 。同时,针对城乡居民医保基金,新规对 “大病保险支出” 项目在报表中的列示标准进行了明确规范 。以往,不同地区对大病保险支出的列示方式存在差异,导致数据缺乏可比性 。现在,统一的列示标准使得各地城乡居民医保基金报表中的大病保险支出数据能够进行有效对比,为医保政策制定者提供了更具参考价值的数据依据 。
新旧制度的衔接是新规顺利实施的关键环节。为了确保医保基金核算工作的平稳过渡,新规制定了详细的新旧衔接方案。首先,要求医保经办机构对现有的核算系统进行升级改造,以适应新的会计科目设置和核算规则。这涉及到系统中数据结构的调整、计算公式的更新以及报表模板的重新设计等多方面工作。同时,经办机构还需要对历史业务数据进行全面梳理和分析。对于以往年度按照收付实现制记录的医保基金收支数据,要按照新规的要求进行重新分类和调整。例如,对于以前年度预收的保费收入,需要从原有的收入科目中调整到“暂收款” 科目,并在对应的受益年度进行重新确认 。通过这些细致的工作,确保医保基金保费收入核算能够顺利从旧制度过渡到新制度,避免在政策切换过程中出现账目混乱、数据错误等问题 。
对于每一个参保的普通人来说,新规带来的是实实在在的“安全感” 升级 。在以往收付实现制下,医保基金结余的 “虚盈” 就像一颗不定时炸弹,随时可能威胁到报销权益 。由于医保基金收支数据的不真实,当遇到突发的就医高峰,或是需要大规模支付报销费用时,医保基金可能因前期的 “虚盈” 误判而准备不足,进而出现报销额度收紧、报销流程受阻等情况 。但新规实施后,医保基金收支实现精准匹配,结余数据真实可靠,医保部门能够更准确地掌握基金的实际状况,提前做好资金储备和调配规划,有效避免了因基金误判导致的报销风险,让大家看病报销更加稳定顺畅 。
大病保险方面,新规建立的盈余返还机制堪称一大亮点。在商业保险机构承办大病保险模式下,当商业保险机构承办大病保险的盈利超过合同约定时,多余的利润将通过“盈余返还” 科目返还给医保基金 。这就好比给大病保险基金装上了一个 “滚雪球” 装置,随着盈余不断积累,基金规模越来越大 。未来,这些增加的资金有望投入到提高大病保险报销比例、降低起付线等惠民举措中 。以李先生为例,他不幸患上大病,在医保报销后,原本需要自己承担高额的医疗费用 。新规实施后,随着大病保险基金的不断充实,他未来申请大病保险时,可能会享受到更高的报销比例,自己需要支付的费用大幅降低 。
长期护理保险也传来好消息,新规增设“失能等级评估费支出” 科目,让失能家庭看到了曙光 。以往,申请长护险待遇时,失能等级评估费成为不少家庭的负担,有些地区这笔费用甚至需要完全自费 。如今,只要是医保部门认定的评估机构,评估费用将由长护险基金支付 。这一改变极大地降低了长护险的申请门槛,让更多失能老人能够顺利申请到长护险待遇,减轻家庭的经济压力和护理负担 。像王大爷这样年老失能的老人,原本因为担心承担不起评估费而迟迟未申请长护险,新规实施后,他可以毫无顾虑地申请,享受到专业的护理服务,提高生活质量 。
医疗机构作为医保服务的重要载体,新规的实施也为其带来了诸多便利,直接缓解了长期以来的垫资难题。在药品和医用耗材集中带量采购中,以往医院需要先行垫付货款给药企,然后再与医保部门结算。这一过程不仅占用了医院大量的资金,增加了运营成本,还容易引发资金周转困难。尤其是一些基层医疗机构,本身资金储备有限,垫资压力让其不堪重负。而新规支持医保直接与药企结算集采药品货款,医院无需再垫付这部分资金。以赵女士就医的医院为例,以前采购集采药品时,医院需要先拿出大量资金支付货款,有时甚至因为资金紧张,导致药品采购延迟,出现断货情况。现在,医保直接和药企结算,医院的现金流压力得到极大缓解,能够将更多资金投入到医疗服务质量提升、设备更新等方面。
同时,结合部分地区推行的“日拨付” 结算改革,医保资金回款周期大幅缩短 。过去,医院与医保部门结算往往需要等待较长时间,资金回笼慢 。如今,在新规的规范下,医保资金能够更快地回到医院账户,大大提高了医院的资金使用效率 。这使得医院在药品采购、设备维护等方面更加从容,能够及时满足患者的医疗需求 。从整体上看,新规推动医院优化运营管理,提升医疗服务效率,为患者提供更优质、高效的医疗服务 。
对于医保基金的监管层而言,新规就像是一把“尚方宝剑”,为医保基金安全保驾护航 。在收付实现制下,医保基金账目模糊,资金流向难以追踪,给监管工作带来了极大挑战 。而新规实施后,精细化的核算方式让医保基金的每一笔收支都清晰可查,真正实现了 “可追溯、可验证、可问责” 。通过增设的各类明细科目,监管部门可以准确掌握医保基金在各个环节的流动情况,无论是保费收入、待遇支出,还是与药企的结算资金,都能做到心中有数 。
准确的收支数据为医保基金风险预警提供了有力支撑。监管层可以根据这些数据,提前识别医保基金可能出现的透支隐患。通过建立科学的风险评估模型,对医保基金的运行状况进行实时监测和分析,一旦发现异常情况,及时采取措施进行干预。在事前,加强对医保基金预算编制的审核,确保预算的合理性和准确性;事中,对医保基金的使用过程进行动态监管,及时发现和纠正违规行为;事后,对医保基金的收支情况进行全面审计,严肃追究违规责任。通过事前、事中、事后全链条监管,筑牢医保基金安全防线,让每一分“救命钱” 都用在刀刃上,切实保障广大参保人的利益 。
财政部发布的这项新规,绝非只是简单的会计核算调整,而是医保基金管理迈向精细化、科学化的关键一步,更是规范物价政策、支付政策制定、规避绩效考核风险的重要前提。它彻底终结了长期以来医保基金“寅吃卯粮” 的核算陋习,将医保账本从模糊不清的“糊涂账”,转变为清晰透明、真实可靠的明细账,让每一笔 “救命钱” 的来龙去脉都能被精准追踪——而真实的收支数据,既是制定合理医疗服务物价政策、科学医保支付政策的核心基础,也是保障医保绩效考核客观公正的关键,既能避免政策制定脱离实际、朝令夕改,也能杜绝绩效考核“埋雷”,倒逼医保服务提质增效,这也充分说明,此次核算制度调整十分必要,是守住医保基金安全底线、护航民生福祉的重要举措。
随着新规的落地实施与不断深化,医保基金将在更加安全、公平的轨道上运行,为群众的健康保障提供更加坚实的后盾。从参保人的稳定报销,到医疗机构的高效运营,再到监管层的严格把控,新规的影响将渗透到医保体系的每一个角落。这不仅是对过去医保管理问题的有力纠正,更是为未来医保事业的可持续发展奠定了坚实基础,标志着我国医保管理正式迈入一个全新的时代。
|
|
||||